A team of researchers with AMD have filed a patent application that looks toward a more efficient and reliable quantum computing architecture, thanks to a conventional multi-SIMD (Single Instruction Multiple Data) approach.
According to the application, AMD is researching a system that aims to use quantum teleportation to increase a quantum system's reliability, while simultaneously reducing the number of qubits necessary for a given calculation. The aim is to both alleviate scaling problems and calculation errors stemming from system instability.
There are two major hurdles on the road to quantum development and eventual quantum supremacy: scalability and stability. Quantum states are a fickle matter, so sensitive that they can decohere at the slightest provocation -- and a quantum system's sensitivity tends to increase with the presence of more qubits in a given system.
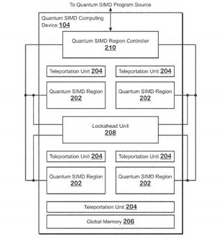
The AMD patent, titled "Look Ahead Teleportation for Reliable Computation in Multi-SIMD Quantum Processor," aims to improve quantum stability, scalability, and performance in novel, more efficient ways. It describes a quantum architecture based on quantum processing regions: areas of the chip that hold or can hold qubits, lying in wait for their turn on the processing pipeline. AMD's approach aims to improve on existing quantum architectures by actually reducing the number of qubits needed to perform complex calculations -- via the science fiction-esque concept of quantum teleportation.


AMD's design aims to teleport qubits across regions, enabling workloads that would theoretically require in-order execution to become capable of being processed in an out-of-order philosophy. As a quick refresher, in-order execution features dependencies between one instruction and the next, meaning that a workload has to be processed sequentially, with later steps dependent on the previous step being fully processed and its result being known before the chip can move ahead with the computation.
As you may imagine, there are chip resources (in this case, qubits) that sit idle until it's their time to perform the next calculation step. On the other hand, Out-of-order execution analyzes a given workload, figures out which parts of it are dependent on previous results and which are not, and executes every step of the instruction that doesn't require a previous result, thus improving performance via increased parallelism.
AMD's patent also includes a look-ahead processor embedded into the architecture,
tasked to analyze the input workload, predict what steps can be tackled in parallel (and those that can't), and appropriately distribute the workload across qubits, using a quantum teleporting technique to deliver them to the required quantum processing, SIMD-based region.
How this quantum teleportation occurs isn't described in the patent -- it looks like AMD is playing its cards close to its chest on this one. Perhaps we're looking at the beginning of AMD's "Zen 98" design (that's a joke, to be clear), or maybe this will not materialize in an actual product. But it does show, beyond any doubt and surprising no one, that AMD is indeed working on quantum computing. That seems to be the next great computing race. And while AMD may or may not be backing the right horse to ride toward an eventual victory, at least it seems the company does plan to be a part of the race.
You may be interested in:
>> Is a Chromebook worth replacing a Windows laptop?
>> Find out in detail the outstanding features of Google Pixel 4a
>> Top 7 best earbuds you should not miss
Related Posts:
>> Recognizing 12 Basic Body Shapes To Choose Better Clothes
>>Ranking the 10 most used smart technology devices
>> Top 5+ Best E-readers: Compact & Convenient Pen
0 Comments:
Post a Comment